iPad Pro 屏幕越做越大,12.9 吋iPad Pro 大小几乎与一台MacBook 都已经差不多,有迹象显示苹果似乎正考虑要推出新款折叠屏iPad。

研调机构IHS Markit 分析师Jeff Lin 也透露,苹果正在打造可折叠iPad ,此机种也将会支援5G ,并且搭载A系列处理器,屏幕大小将会直逼MacBook ,将会替平板带来新的革命产品
折叠屏设备的形态
三星和华为在今年都发布折叠手机,不过两款机器因为一些问题都推迟上市。

今年五月联想 已经发布了一款折叠屏笔电,或者叫做平板,这款产品使用13.3寸OLED 屏幕设计

如果iPad使用折叠式设计,将原本12.9 iPad Pro 折叠后,体积就可以变为6 吋的机身,将会更适合随身携带,并且可以放在桌面上直接通过虚拟键盘输入。
iPadOS和折叠屏专利
今年苹果突然独立推出iPadOS,这似乎就是准备为iPad 未来「折叠」屏幕先行铺路。除了系统上,其实苹果早在2018 年1 月就已经先提出屏幕折叠专利设计。
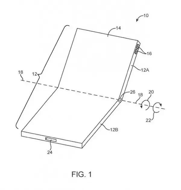
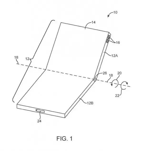
这份「电子设备折叠屏幕与保护套」专利技术在2019年5月才经由美国专利与商标局通过,根据专利文件内描述折叠技术,屏幕可透过不同形式来折叠,甚至可以折叠多次,根据底下专利来看,外型就如同iPad 屏幕折叠设计。

今年2月也获得折叠手机的铰链设计技术专利,这项技术同样也可以用于平板、笔电、手表上,如果从专利图上显示,右上角有两个控制键,也就是以iPad为设计,屏幕将会采用上下折叠内折方案。

另外专利还有显示苹果在屏幕中央有着软质、可折叠部份,能够让手机像是书本开合的专利技术,可以将屏幕折叠成S 型,另也可透过两端内折叠成G 型;根据专利文件内说明,折叠采用铰链设计,可运用于旋转屏幕折叠。

从苹果专利技术来看,苹果并非从近几年才开始对可折叠iPhone 或iPad 感兴趣,早在2017年甚至更早就已经开始计划设计,并提出各种不同天马行空的弯曲方案,毕竟苹果推出新产品时,需历经好几年的测试研发后才会向大众正式堆出,时间也许可能比起其他厂商晚些,但用户体验上相信会是最好的,折叠屏iPad预计在2021年推出。
来源:头条—Apple每日资讯